RESET:强制断电按键
AUX OUT:音频输出接口,连接到带有音频输入功能的设备
DC IN:适配器电源输入接口,接直流电源
来源:http://www.jtwyled.com/product788124.html
时间:2021/11/27 16:10:48
联系我们:400-669-0921| 智能讲台 |
| 功能描述 |
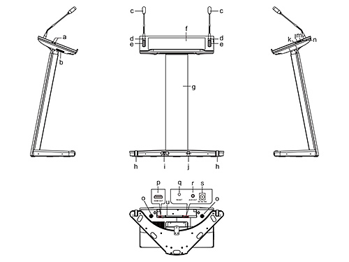
| a、USB 接口:连接移动硬盘、U 盘、USB 键盘鼠标等 |
| b、散热孔 |
| c、鹅颈麦:麦克风 |
| d、麦克风连接口 |
| e、磁吸笔槽 |
| f、触摸显示屏 |
| g、电动升降立柱 |
| h、移动脚轮:倾斜智能平板讲台可以利用脚轮轻松移动 |
| i、电源插座:交流电源输入 |
| j、AC 开关:“I”表示通电状态,“O”表示断电状态 |
| k、静音按键 |
| l、下降按键:控制智能平板讲台立柱下降 |
| m、上升按键:控制智能平板讲台立柱上升 |
| n、电源按键:短按开机;开机状态短按休眠,长按 2 秒软关机,长按 10 秒强制关机 |
| o、喇叭 |
| p、HDMI OUT:高清多媒体接口信号输出,接带有 HDMI 输入的电子视频设备 |
| q、RESET:强制断电按键 |
| r、AUX OUT:音频输出接口,连接到带有音频输入功能的设备 |
| s、DC IN:适配器电源输入接口,接直流电源 |
